

Alborz Fallah
2026 Lotus Emira Turbo Bathurst Edition revealed with big bumps in power, price
2 Hours Ago

Contributor
Ford Motor Company is gearing up to let electric vehicle owners create smoke with new ‘burnout’ or ‘peel out’ capabilities.
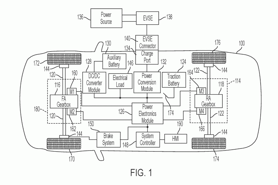
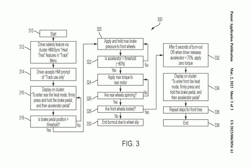
In a patent filed with the US Patent and Trademark Office and shared by Carbuzz, Ford specifically outlines an ability to activate a “performance mode with intentional wheel spin for tire heating” in electric vehicles.
“Wheel spin may be desirable for various performance vehicles to heat tires and improve traction and/or provide a visual exhibition of smoking tires in a peel out or burn out,” says the carmaker in the patent.


According to the documents there are two way to activate the “heat tyres” mode.
Drivers can nominate if they want a ‘front tyre heat mode’ or a ‘rear tyre heat mode’ which can both be achieved by pressing the brake and accelerator pedals in a certain sequence.
The patent claims that vehicles eligible to receive this drive mode will already have the appropriate hardware installed and that the new capabilities can be added with a software or programming update.

The patent also highlights the ability isn’t limited to electric vehicles only, with hybrid and fuel-cell vehicles also able to employ such a feature.
Ford previewed similar technology in 2020 with a Ford Mustang Mach-E prototype that had the ability to do a four-wheel burnout while in all-wheel drive. It featured seven motors and 1044kW of power.
Ford isn’t the only company that is looking to bring the sound and feel of combustion vehicles to the EV realm.

Dodge announced it is developing a Fratzonic “exhaust” for its Charger SRT Daytona Concept to pump sound from the vehicle, and Ferrari filed a patent earlier this year for a type of ‘engine noise’ for its upcoming EVs.
Toyota filed a patent last year that outlines a manual transmission for electric vehicle with a fake clutch.
It’s unclear if or when Ford will use this technology in its electric vehicles. The patent images depict a Mustang Mach-E, which could potentially be the first application for this technology should Ford put it into production.
Go deeper on the cars in our Showroom, compare your options, or see what a great deal looks like with help from our New Car Specialists.
Jade Credentino is an automotive journalist currently based in Melbourne, Australia. Jade has had a chance to review a variety of vehicles and particularly enjoys SUVs. She enjoys traveling and going on road trips exploring Australia.


Alborz Fallah
2 Hours Ago


James Wong
2 Hours Ago


William Stopford
3 Hours Ago


Derek Fung
3 Hours Ago


Max Davies
10 Hours Ago


Damion Smy
18 Hours Ago
Add CarExpert as a Preferred Source on Google so your search results prioritise writing by actual experts, not AI.